Lucy
Ask the AI Tutor
Need help with Crude Oil 2? Ask our AI Tutor!
Lucy AI Tutor - Lucy
Connecting with Tutor...
Please wait while we establish connection
Lucy
Hi! I'm Lucy, your AI tutor. How can I help you with Crude Oil 2 today?
now
Crude Oil 2

An oil platform at sea drilling for crude oil. Learn more about crude oil with this quiz.

Crude Oil 2

Crude oil, also called petroleum, is formed from the anaerobic decay of dead sea creatures and plants when sediments become buried deep beneath the sea bed. It becomes trapped beneath impervious rock and is extracted by drilling oil wells. The crude oil that is released by drilling is very thick, viscous and fairly useless because it is a mixture of hundreds of different hydrocarbons, mainly of the alkane family. Extra processing such as fractional distillation and cracking is required to extract and process these before the oil becomes useful.

The many hydrocarbons in crude oil may be separated into fractions, each of which contains molecules with a broadly similar number of carbon atoms. This is achieved by evaporating the oil and allowing it to condense at a number of different temperatures. This process is called fractional distillation and takes place in a fractionating column. For your GCSE exam, you need to know and understand the main processes in continuous industrial fractional distillation. You will also need to be able to demonstrate that you know the shorter chain hydrocarbons are obtained from higher in the column and vice-versa. You may also find it useful (but it's not essential) if you are able to remember the names and uses of the fractions.

Once the fractions have been separated and stored, some of them can be processed further. In most crude oils, the proportions of the different fractions that are produced don't usually match the demand. For example, an oil refinery may find that almost 40% of the oil they pass through the fractionating column is from the residue fraction. If they can only sell half of this, they have a dilemma (called overproduction) about what to do with the unsold material. Similarly, they may find that only 5% is the fraction that they can sell as petrol for cars. They could probably sell a lot more than that so again, they have a problem (this is called underproduction). Both problems are solved by thermal catalytic cracking. They take the unsold residue, which contains long chain hydrocarbon molecules and break them down into shorter chain molecules like petrol.

One of the by-products of cracking is molecules of a family of chemicals that is not naturally found in crude oil - the alkenes. These are unsaturated molecules (contain a double bond between at least one pair of carbon atoms) that are more reactive than the original alkanes. The main things that you need to know about these are that the simplest alkene is ethene, that they will discolour bromine water and can join together to form extremely long molecules called polymers.

1 .
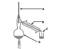
The diagram shows the apparatus used in the laboratory for the distillation of liquids. Pick the correct label for B.
Distillate
Condenser
Round bottom flask
Thermometer
This is sometimes called a Leibig condenser
2 .
Pick the correct label for C.
Distillate
Condenser
Round bottom flask
Thermometer
When distilling crude oil, the properties of the distillate depend on the temperature at which it boils
3 .
The diagram shows the fractional distillation column used for separating crude oil into its constituent compounds. Pick the correct letter to show where crude oil enters the column.
A
C
E
G
The crude oil is vapourised and then injected into the column at the bottom
4 .
Pick the correct letter to show where the fraction with the heaviest molecules leaves the column.
A
C
E
G
The heaviest fraction has the highest boiling point
5 .
Pick the correct letter to show where the most volatile fraction leaves the column.
G
F
B
D
The smallest molecules are the most volatile
6 .
Pick the correct letter to show where the most viscous fraction leaves the column.
E
B
G
C
The heaviest fraction is the most viscous
7 .
The diagram shows the process of cracking a long chain hydrocarbon into two smaller hydrocarbons. Pick the correct name of the starting alkane.
Pentane
Heptane
Ethane
Decane
If you count the carbon atoms, you see that the starting alkane has seven in its chain. 7 = hept just like a 7-sided shape is a heptagon
8 .
Pick the correct pair of products from the reaction shown in the diagram.
Ethane and pentane
Ethene and propane
Ethene and pentane
Ethene and pentene
An alkene and an alkane are produced by cracking. Counting the carbon atoms of the two molecules produced leads you to the correct answer
9 .
The diagram shows a type of reaction that produces useful materials from the products of crude oil. Name the process that is shown.
Thermal decomposition
Polymerisation
Cracking
Distillation
In polymerisation, long chain molecules are made from reactive smaller molecules
10 .
Name the monomer and the polymer produced from the reaction shown in the diagram.

Monomer: Ethene

Polymer: Poly(ethene)

Monomer: Ethane

Polymer: Poly(ethene)

Monomer: Ethene

Polymer: Poly(ethane)

Monomer: Styrene

Polymer: Poly(styrene)

There are several different types of poly(ethene)
Author:  Kate Gardiner (Chemistry Educator & GCSE Quiz Writer)

© Copyright 2016-2025 - Education Quizzes
Work Innovate Ltd - Design | Development | Marketing